Zum Hauptinhalt springen Zur Suche springen Zum Menü springen

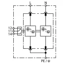
DEHNventil DV M2 TN 255 FM Kombi-Ableiter Typ 1 + 2 + 3

Fabfikat: DEHN
Typ: DV M2 TN 255 FM

Artikelmerkmale:
SPD nach EN 61643-11 / ... IEC 61643-11: Typ 1 + Typ 2 + Typ 3 / Class I + Class II + Class III
Energetisch koordinierte Schutzwirkung zum Endgerät (≤ 10 m): Typ 1 + Typ 2 + Typ 3
Netzform: TN-System
Nennspannung AC (UN): 230 V (50 / 60 Hz)
Höchste Dauerspannung AC (UC): 255 V (50 / 60 Hz)
Blitzstoßstrom (10/350 µs) [L, N-PE] (Iimp): 25 kA
Nennableitstoßstrom (8/20 µs) [L-PE] (In): 25 /50 kA
Schutzpegel [L-PE]/[N-PE] (UP): ≤ 1,5 kV
Folgestromlöschfähigkeit AC (Ifi): 50 kAeff
Ansprechzeit (tA): ≤ 100 ns
Max. Vorsicherung (L) bis IK= 50 kAef: 250 A gG
Betriebstemperaturbereich (TU): -40 °C ... +80 °C / -40 °C ... +60 °C
Funktions- / Defektanzeige: grün / rot
Anschlussquerschnitt (L, N, PE)(min.): 6 mm² ein- / feindrähtig
Anschlussquerschnitt (max.): 35 mm² mehrdrähtig / 25 mm² feindrähtig
Montage auf: 35 mm Hutschiene nach EN 60715
Einbaubreite: 2 TE, DIN 43880
FM-Kontakte / Kontaktform: ja / Wechsler
Nettogewicht: 271,47 g/st
Zolltarifnummer: 85363090

531,90 €
inkl. 19% USt. , zzgl. Versand
  • Sofort verfügbar
    Lieferstatus: Artikel ist keine Lagerwahre! Versandt erfolgt direkt durch Lieferanten.
  • *Lieferzeit: 1 - 3 Werktage (DE - Ausland abweichend)
Stk